王彬斌您身边的专业知识产权律师13538982365
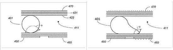
据外媒Appleinsider报道,美国商标专利局最近公布了一项名为“通过孔口排出液体”的苹果专利。这项专利描述了一种通过改变声学器件(扬声器或是麦克风)内部导电元件的电荷分布,从而将液体排出手机的方法。
目前苹果大多是通过物理结构来防止液体浸入手机,譬如iPhone6s配备的胶圈以及被硅树脂密封的缆线。但这种防护在一定压力下会失效,水汽依然会侵入到手机内部对敏感电子元件造成伤害。

据专利文件描述,当声学模块内的传感器检测到水汽进入后,就会通过策略性地改变腔体壁上的电荷分布来收集或移动液体,从而将侵入的水汽通某些过孔洞排出。另外,专利内也描述了利用扬声器单元产生的声波来驱除液体的方法。
从近几代的iPhone来看,苹果似乎一直都在默默提升其防水性能。至于下一代iPhone能否配备这项黑科技,我们就拭目以待了。
王彬斌您身边的专业知识产权律师13538982365
保护您珍贵的智慧财富!:知识产权案件逐年成倍增长,既有国际经济发展的大趋势也有国内产业调整的客观需求。现在知识产权真正成为企业逐鹿商海的矛和盾,企业不仅要矛尖也要盾厚,每个企业都有自己知识产权的脉动,有针对性的进行建设和保护企业知识产权,方能助企业一臂之力!
关注微信“王彬斌律师”(微信号wangbinbinlawyer),阅读更多精彩文章。使用微信扫描左侧二维码添加关注。
(声明:本文仅代表作者观点,不代表法邦网立场。本文为作者授权法邦网发表,如有转载务必注明来源“王彬斌律师网”)
执业律所:广州盈科律师事务所
咨询电话: 15811286610
知识产权双证王彬斌律师,用专业和责任为您保护珍贵智慧财富! 专业的事交给专业的律师,一对一预约专家律师咨询,欢迎来电135 3898 2365预约详细面谈。