王彬斌您身边的专业知识产权律师13538982365
据美国《福布斯》杂志12月1日消息,近期,美国专利与贸易办公室公布了三星的一项专利申请,其多项智能手机新设计随之曝光。你担心手机屏幕易损坏吗?三星屏幕新设计也许能够拯救你的“玻璃屏”。
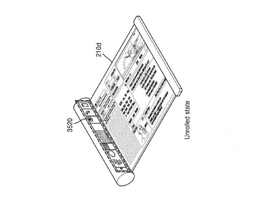
公布的该项专利申请包含多项智能手机新设计技术,其中就包括折叠型和曲卷型设计。目前市面上绝大多数手机屏幕仍采用占据主导地位的方平设计,所以,不管是折叠型设计还是曲卷型设计都是屏幕设计领域的重大创新。

对于一款折叠型手机来说,即便合上手机(与翻盖手机不同),仍有部分屏幕能显示必要的内容,而摊开手机,便可执行更多操作。
该项专利还包括一项更为吸睛的设计技术——智能手机也许能像古代的画卷一样卷起、展开,灵活自如。近些年,有关研发可弯曲、可折叠、可曲卷手机屏幕的传闻一直有所流传。2013年,三星也只是在YouTube上推出了一款曲面屏手机的概念视频。
而此项专利才真正能够使折叠曲卷屏幕的设想变为现实,应用于智能手机之中。GalaxyRound是三星推出的第一代曲面屏幕手机,这款手机的面世标志着三星在折叠曲卷屏幕设计领域已开拔启航。
据报道,三星后续或将有更多创新设计面世。
王彬斌您身边的专业知识产权律师13538982365
保护您珍贵的智慧财富!:知识产权案件逐年成倍增长,既有国际经济发展的大趋势也有国内产业调整的客观需求。现在知识产权真正成为企业逐鹿商海的矛和盾,企业不仅要矛尖也要盾厚,每个企业都有自己知识产权的脉动,有针对性的进行建设和保护企业知识产权,方能助企业一臂之力!
关注微信“王彬斌律师”(微信号wangbinbinlawyer),阅读更多精彩文章。使用微信扫描左侧二维码添加关注。
(声明:本文仅代表作者观点,不代表法邦网立场。本文为作者授权法邦网发表,如有转载务必注明来源“王彬斌律师网”)
执业律所:广州盈科律师事务所
咨询电话: 15811286610
知识产权双证王彬斌律师,用专业和责任为您保护珍贵智慧财富! 专业的事交给专业的律师,一对一预约专家律师咨询,欢迎来电135 3898 2365预约详细面谈。